时间:2022-08-02 04:12:27作者:来源:人气:我要评论(0)
明日方舟中,铃兰是很强力的刘星干员,那么游戏中铃兰怎么样,好用吗,下面一起来看看吧。
铃兰:六星减速系辅助

六星减速系辅助:铃兰
面板数据:铃兰的天赋会给人以误导,【脆弱】的效果会让博士们误以为她是和巫恋、初雪一样的削弱系支援辅助。但无论从特性还是技能组来看,铃兰的实际定位依旧是“减速系辅助”,她只是也有【脆弱】的能力而已。因此在面板数据的对比上,我们选择了其他两位相同定位的辅助干员,包括:安洁莉娜、格劳克斯、真理、波登可、地灵(地灵、波登可计算满潜能,其他均按照精二满级满信赖无潜能计算)。

铃兰面板数据
从上图的面板数据对比,我们可以观察到:铃兰的面板数据是标准的减速系辅助六星模板。与同为六星的安洁莉娜相比,牺牲了一些攻击力(低了21点),增强了一定的生存能力(血量高了95,防御力高了8),总体而言差不多。接下来我们来看她的两个天赋。
铃兰的天赋
“技力光环·辅助:在场时所有【辅助】干员的技力自然回复速度+0.4/秒 。”
铃兰是目前游戏中出现的第三个拥有“技力回复”能力的干员,另外两个是白面鸮的无差别“技力光环”、以及莫斯提马针对术士干员的“技力光环·术士”。简单来说就是:能够提高所有在场辅助干员的技能周转速度。
但是需要注意的是:这个天赋可以和莫斯提马的天赋同时生效,但是白面鸮的“技力光环”不叠加。如果铃兰、莫斯提马和白面鸮三人同时在场,那么术士和辅助干员受到高技力回复加成(+0.4/秒),其他所有干员受白面鸮的加成(+0.3/秒)。

铃兰的天赋
“画地为牢:攻击范围内被停顿的敌人在下一瞬间起还会受到等长时间的【脆弱】(受到伤害+20/23%)。”
第二天赋是铃兰的绝对核心,但是需要特别注意的是:无论是否开启技能,铃兰自身都无法吃到天赋带来的【脆弱】加成。【脆弱】的效果会在她攻击的“下一瞬间”才生效,且只持续0.8秒,而铃兰的实际攻击间隔为1.9秒,远高于这个数字。一二技能自身无法吃到加成,三技能因为全范围停顿,理论上是可以吃到“脆弱”加成,但是铃兰停止了攻击。因此,“画地为牢”的本质是辅助队友进行输出。
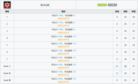
全力以赴:输出与辅助

全力以赴(图源PRTS)
一、输出能力:铃兰的一技能“全力以赴”,顾名思义,火力全开地进行输出和控制。这个技能既增加了攻击力,又增加了攻速,都是干员输出时的核心要素。因此我们先抛开控制力这点不看,单纯地计算一下她的输出能力。我们选取了拥有高法抗的“冬灵血巫”(防御力299,法术抗性49,数量为1)进行测试,如下图所示。

模拟敌人:冬灵血巫
在开启技能后,铃兰的攻击速度+15,攻击间隔变为1.65秒,依旧远远高于0.8秒的【脆弱】时间(专三后为1.46秒)。无论技能等级如何,都无法吃到天赋带来的【脆弱】加成。为了全面地测算输出数据,所以我们先后对比了“单体术士”和“输出型辅助”,结果如下所示。

伤害测算(单体术士)
对比单体术士:铃兰的一技能“全力以赴”,在输出能力层面上是远远不及单体术士的,铃兰所能够打出的秒伤DPS仅为六星术士干员刻俄柏的一半。但是她也有她的优势:技能的周转率高达56.52%,虽然不可控但是覆盖率很高。这一点有点类似于能天使的“过载模式”。

伤害测算(辅助)
对比输出型辅助:同行竞技,对单输出。在输出能力上,铃兰的“全力以赴”依旧不够出色,伤害低于安洁莉娜的“微粒模式”以及两位削弱系辅助。并且一旦攻击范围内的敌人数量超过了一人,初雪的“传音回响”和安洁莉娜的“反重力模式”也会遥遥领先“全力以赴”。综合来看,铃兰一技能的输出能力并不强。那么这个技能存在的意义是什么呢?需要结合铃兰的特性,以及天赋“画地为牢”来看,答案是:停顿控制、脆弱辅助。
二、停顿控制:攻速的增加,对于铃兰有着不同的意义,比其他许多的干员拥有着更大的提升。一方面是她作为减速系辅助干员的特性,每一次的攻击都能“停顿”敌人,攻速的增加就是提升“停顿”的控制时间。

“停顿”
我们先看第一点:“停顿”的控制。如上图所示,铃兰的每一次攻击能够对敌人造成0.8秒的停顿,即:在0.8秒内,降低80%的移动速度。铃兰未开启技能的攻击间隔是1.9秒,等效的控制占比为42.1%;开启七级的技能,控制占比48.48%;专三的技能,占比为54.79%。这个控制的覆盖率,相比安洁莉娜“秘杖·微粒模式”与真理“专心致志”,两者所能达到的100%“停顿”覆盖率差距颇大。铃兰一技能的的“停顿”控制能力也并不强势。
三、“脆弱”易伤:另一方面,在天赋“画地为牢”的帮助下,铃兰的停顿还会对敌人造成【脆弱】的易伤效果,攻速的增加就是提升【脆弱】的覆盖率。铃兰所带来的【脆弱】持续时间可以从动画特效上进行判断:敌人身上会有“螺旋状”的停顿标志,身上也有狐火。如果这两个特效结束了,那么也就是【脆弱】状态消失了。如下图所示:

“脆弱”易伤特效
上文中说到了,铃兰自身并不能吃到一技能所带来的【脆弱】加成。所以这个技能的本质,其实是:提高【脆弱】的覆盖率,辅助队友进行输出。我们横向对比一下目前游戏中三个拥有削弱辅助能力的干员,巫恋、初雪和铃兰。

“脆弱”效果对比
可以发现:铃兰的“脆弱”胜在触发简单,只要她攻击了敌人即可触发。但是在易伤幅度、持续时间、覆盖率方面,铃兰都与正统的削弱系辅助存在着比较大的差距。除此之外,铃兰的攻击覆盖范围也远不如巫恋和初雪(相差4格)。
四、专精收益:铃兰的一技能因为本身伤害不高,前期专精带来的输出提升非常有限。在专一时的输出5.9%、专二为13.2%、专三为24%,其中专三的幅度最高。在控制和辅助方面也是一样,专三能提升30攻速、周转率提升至60%,综合收益不低。建议练度:七级(推荐)、专三。
五、综合来看:可以将携带一技能的铃兰看成是“具有一定输出能力的削弱系辅助干员”。“全力以赴”更像是一个集大成者,样样都会但是样样不精。在各方面都没有做到绝对杰出。输出相对平庸、减速停顿效果不如传统减速系辅助、削弱效果也不如巫恋和初雪。但因为其能够非常轻松地触发“脆弱”,可以将铃兰搭配其他的输出系干员进行配合使用。
儿时的舞乐:永续多目标攻击

儿时的舞乐(图源PRTS)
一、多目标攻击:铃兰的二技能“儿时的舞乐”是需要高技力启动,之后永续维持该状态的技能,机制上类似于巫恋的“病入膏肓”。在技能点火启动之后,铃兰的周身会出现“罗裳”的特效,攻击动画也变成了“凝聚三团狐火后发射”,特效如下所示:

多目标攻击
二、伤害测算:接下来我们来测试一下伤害,再次邀请冬灵血巫登场(防御力299,法术抗性49,数量为3),因为这个技能会在专一时产生质变,能同时攻击三名敌人。所以我们设置专一为基础练度,而不是七级。同时,因为“儿时的舞乐”具有极高的自由度,可以轻易处理分散的敌人,所以我们也选择了类似的技能,包括:安洁莉娜的“秘杖·反重力模式”、真理的“文学风暴”以及艾雅法拉的“火山”。输出对比结果如下:

“儿时的舞乐”伤害测算
可以从上表观察到:在最理想的面对三人情况下,铃兰二技能的秒伤是辅助干员中最高的,超越了安洁莉娜的“反重力模式”。但是这个数字与艾雅法拉的决战技“火山”相比,差的依旧不止一星半点。但是如果一旦敌人的数量多起来,假定射程范围内共有五名敌人的话,安洁莉娜三技能的秒伤会立刻反超(846),远胜铃兰。
同时,上文中提到的问题依旧存在:铃兰的二技能“儿时的舞乐”,依旧无法享受到自身天赋带来的“脆弱”加成。这个技能在很大层面上,也是侧重于通过“脆弱”和“停顿”去辅助队友的。这里就不再将“脆弱”这一点展开说了,详情可以参考一技能中对比巫恋和初雪的数据。同时停顿和脆弱三个敌人,三倍的快乐,博士你值得拥有。
三、多目标对策解:同一技能一样,铃兰的二技能“儿时的舞乐”也能够造成停顿的控制以及脆弱的辅助。但不一样的地方在于:她是同时针对多目标的。这意味着铃兰可以同时处理多个棘手的敌人,比如狼群、无人机群、幽灵群等等。同时,这个技能是需要点火的永续技能,启动后是没有技能真空期的。凭借着这两个优势,在很多场合不用考虑技能周转问题,我们永远可以相信铃兰。

多目标停顿控制
比如在主线H5-1中,面对众多的法术大师A1、A2无人机,每一次攻击都能停顿三架无人机的铃兰,根本飞不过她的身边,使用起来极为舒适。
四、专精收益:铃兰“儿时的舞乐”在专一时发生质变,攻击目标数从2上升到了3,但没有增加攻击力。后面的两级的专精大幅提升了攻击力,也降低了技能点火需要的技力需求。如果面对双目标,专三相较7级的输出提升是23.1%;如果是三目标,提升就会变成夸张的84%,因此起码需要完成专一。建议练度:专一(最低练度)、专三(推荐)。
五、综合来看:“儿时的舞乐”在合适的输出环境下,输出、辅助能力都非常优秀。这也是铃兰最适合与安洁莉娜搭配的技能:她能在安洁莉娜的技能真空期时提供关键的控制、增加她的技能周转速度与攻击伤害。同时,安洁莉娜的攻速增加对于“儿时的舞乐”也提升极大。最重要的是,这个技能省心,只要找对合适的位置把铃兰扔上去就可以了。
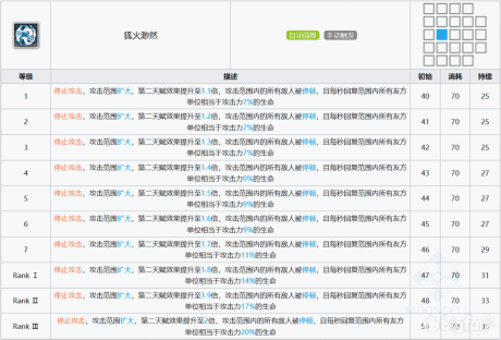
狐火渺然:控制与回复

狐火渺然(图源PRTS)
一、技能机制:铃兰的三技能“狐火渺然”非常纯粹:牺牲了所有输出能力,全力专精于控制、回复与辅助。在开启技能后,攻击范围会扩大,并且其中的所有敌人会被停顿。翻译一下就是:在23格的广域范围内,所有敌人被减速80%,持续29秒。光听描述就觉得非常恐怖,如下图所示:

攻击范围变化

范围停顿
在评价“狐火渺然”时,所长会拆分成两个方面进行评价:第一是治疗能力,测算一下在技能时间内的治疗回复量,对比其他具有范围治疗能力的技能。第二是控制与辅助能力,对比目前游戏中的其他控制和辅助一体的技能,考虑技能周转和控制时长等因素。最后再综合这两方面的测评结果,出一个最终评价。
二、治疗能力:在治疗能力的计算中,所长会分别计算“对单”和“对群”时的治疗量,尽量做到全面。在对比参照的对象上,选取了技能类型比较接近的几位干员,包括:月禾“森廻”、夜莺“圣域”、清流“涌泉”、锡兰“水灵庇护”、塞雷娅“钙质化”,对单时的治疗量如下图所示:

治疗量(对单)
在对单治疗的情况下,铃兰的三技能每秒治疗量HPS位列倒数第二,仅仅高于月禾的“森廻”。相比正统的领域治疗类技能,比如“圣域”、“水灵庇护”,还是存在着非常大的差距的。考虑到铃兰开启技能后的超广攻击范围,我们再看一下另一种情况,假定有六位友军在她们的技能覆盖范围内(共七人)。不考虑治疗溢出,对比结果如下图所示:

治疗量(对群)
因为铃兰开启技能后拥有23格超广覆盖范围,对群治疗的情况是相对实现的。观察上表可以发现:在对群治疗的情况下,铃兰的每秒治疗量HPS超越了有治疗数限制的干员,但依旧不如群奶、奶盾等常规医疗干员(夜莺“圣域”、塞雷娅的“钙质化”)。

治疗绝食系干员和召唤物
如上图所示,铃兰的“狐火渺然”也有她的特殊优势:可以治疗绝食系的干员,比如赫拉格、火神、宴等等。也可以治疗召唤物,比如梅尔的狗子、麦哲伦的无人机,都是可以被铃兰所治疗的。但是这个治疗量真的不大,七级技能的回复量勉强与毒雾持平,只能保持不掉血(65点回复对比50点掉血)。
三、停顿与脆弱:当铃兰开启“狐火渺然”,在长达29秒的时间内,范围内的敌人是保持“停顿”的,因此也同样会保持“脆弱”的负面状态。这不免让我们想起了塞雷娅的钙质化,两者的差别在于:“狐火渺然”的优势是可以辅助物理干员、减速的幅度更大、技能周转更快。“钙质化”的优势是治疗量更高、易伤幅度也更高。具体如下图所示:

对比钙质化
这个技能的正确打开方式也是用来配合其他干员进行输出,为他们创造合适的输出环境。比如对于黑、送葬人、伊芙利特、苦艾这些干员而言,长时间的大范围高额减速能让他们输出起来特别舒服。比如在这次活动七图TW-7中,铃兰就能为伊芙利特和黑创造很棒的输出环境,迅速带走棘手的泥岩巨像:

创造输出环境
四、专精收益:铃兰三技能的专精主要是提高治疗能力,以及“脆弱”的辅助能力。从七级到专精三,治疗量的提升高达116%,每秒治疗量的提升为80.3%。专三以后的对群总治疗量大约相当于专一的夜莺“圣域”。在脆弱辅助方面,因为会进行乘算,所以五潜增强了第二天赋的铃兰可以选择拉到专三。但一般的铃兰专精带来的提升是线性的(36%、38%、49%),在任一阶段收手皆可。建议练度:七级到专三的任意阶段,量力而行。
五、综合来看:“狐火渺然”是一个非常优秀的技能,集控制、辅助于一体技能,可以当作是塞雷娅的“钙质化”去使用:攻击范围扩大,既有减速,又有增伤,还有治疗能力。但是比“钙质化”拥有着更优秀的回转,非常适合用来配合其他干员进行爆发使用,极为优秀。
相关阅读 明日方舟危机合约325荒漠8低配攻略 低配阵容推荐 明日方舟煌怎么样 煌评测分析 明日方舟危机合约328中转站13通关攻略 通关阵容推荐 明日方舟危机合约319龙门新街8低配通关攻略 低配阵容推荐 明日方舟危机合约326新街15怎么过 低配阵容通关攻略 明日方舟安比尔原型是什么 安比尔属性技能介绍 明日方舟干员阿怎么样 阿评测分析 明日方舟危机合约材料兑换指南 明日方舟阿精二立绘介绍 阿精二所需材料一览 明日方舟危机合约322霜冻废墟8低配攻略 全30级低星阵容推荐
热门文章
极乐迪斯科支线任务大全 全支线任务完成攻略
密室逃脱19离奇失踪家族之谜攻略大全 通关图文攻略
古代人生办案攻略 各案件处理技巧
原神圣遗物套装大全 圣遗物套装属性一览
最新文章
人气排行